Submitted by Frank Macey on
Evidence is mounting that Apple is working on several projects related to light field photography, for possible inclusion on future devices. While specs on the iPhone 6s and iPhone 7 cameras are not currently known, Apple patent activity and a recent acquisition revolve around advanced imaging technologies. Light field images were first made widely available with the launch of the Lytro camera, which makes it possible to capture an image and refocus afterwards.
Apple was awarded a patent titled Digital camera including refocusable imaging mode adaptor, which shows how a future iPhone light field camera might operate. In low-resolution mode the images captured could be modified later, bringing objects in the foreground or background into focus. High-resolution mode would capture fixed focus images, much like current iPhone cameras do.
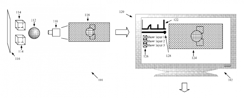
A more recent patent application, Method and UI for Z depth image segmentation, explores how the software for manipulating light field data would work. The application, which could be installed on a computer or a mobile device would use data captured by the light field camera to delineate layers in the composition. The user could subsequently bring different layers into focus by recalculating the depth of field, or remove layers from the composition entirely.

Last but not least, Apple acquired LinX Imaging earlier this month. The company develops incredibly small, multi-aperture cameras for mobile devices. Since these cameras capture information from different points in space, the data can later be combined for improved light sensitivity, 3D image construction, or even refocusing compositions after the fact.
